貴州、四川、安徽解除限遷 全國二手車解限倒計時
2016-06-17 09:21:00 來源:央廣網
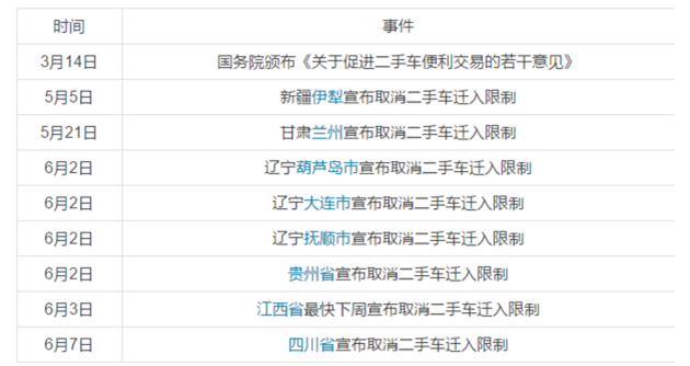
央廣網北京6月17日消息 據經濟之聲《天下財經》報道,近日,四川省人民政府辦公廳發布通知,稱四川省各地將取消對于二手車的遷入限制。緊接著,安徽省也下達解限通知,并要求各市級政府盡快落實。截止目前,包括首個宣布解限的省份貴州省在內,已有三個省級地區徹底解除了二手車遷入限制,而江西省則宣布將在一周內實施解限。業內人士認為,除長三角、珠三角、京津冀九個城市外,全國預計將在2016年內全部完成解限。
據了解,在貴州省宣布解除限遷后,四川省人民政府、安徽省商務廳響應國務院辦公廳頒布的《關于促進二手車便利交易的若干意見》,向省內各市下達通知。通知表明,對于符合國家在用機動車排放和安全標準,在環保定期檢驗有效期和年檢有效期內的二手車均可辦理遷入手續。國家要求淘汰的黃標車和老舊車不得跨區域流通。各地不得超范圍限制二手車遷入,已經實行超范圍限制措施的地方,要在2016年5月底前予以取消。

目前,已有9個省市已宣布解除或將要解除限遷,分別是伊犁、蘭州、葫蘆島、大連、撫順、貴州省、江西省、四川省和安徽省。雖然這9個省市在全國近300座限遷城市中顯得微乎其微,但卻為其他大部分持觀望態度的地區做出了良好榜樣。

近幾年,限遷政策對中國二手車市場以及國民經濟水平造成了不小的影響。據中國汽車流通協會調查顯示,全球的車輛平均更新周期約為5至7年,而由于中國消費者購買力較強,更新車輛頻率高于平均水平,所以從2009年二手車大面積進入中國市場開始,預計2014年我國二手車市場將迎來爆發期。但由于限遷政策的實施,嚴重影響了二手車全國市場的形成,阻礙發展,因此在一定程度上推遲了這一爆發期的到來。
數據顯示,因為全國各地方限遷政策造成每年全國老百姓在用車損失超過1.1萬億,而中高端車相比低端車的折舊損失更加嚴重。這說明,限遷政策會導致這輛嚴重貶值,加重老百姓財政負擔,間接導致購車成本增高。另外,限遷也會無形中增加老舊車數量,對環境的污染將更加嚴重。
因此,今年3月,國務院發布《關于促進二手車便利交易的若干意見》,明確要求除有特殊要求的城市外,其他省市要在5月底徹底完成解除限遷的落地實施。
隨著中國汽車保有量的大幅增加,汽車市場的成熟特質也越來越明顯,二手車交易活躍度也越來越高,這一陣新政策暖風無疑又給市場注入了一劑強心針。另外,在以上9個省市宣布解除限遷后,眾多二手車從業者正持續通過朋友圈和媒體發聲,希望能盡快落實國務院相關政策,取消各地區的二手車限遷壁壘。
從宏觀層面來看,取消限遷不只是對二手車甚至汽車行業的發展起到推進作用,也是促進經濟發展的有力抓手之一。正如經濟學上所說的“流通才有價值”,取消限遷會直接帶動二手車流通,刺激消費,拉動汽車市場銷售,促使經濟鏈盤活。由點至面,從地方經濟到全國經濟發展都將獲得積極的影響。
總體來說,貴州、四川、安徽等地區率先解除限遷,歸功于當地政府和相關機構高效的執行力,不僅帶動了部分城市的市場經濟發展,也為當地的稅收、環境帶來良性影響。在國務院政策推動下,在9個省市為全國解禁做出榜樣后,在解除限遷帶來的無數利好條件包圍中,相必那些持觀望態度的地區又有什么理由拒絕呢?
編輯:趙亞蕓
關鍵詞:貴州;四川;安徽;限遷;二手車解限
6月16日,據貴州省紀委監察廳網站消息,近日,貴州紅果經濟開發區原黨工委委員、管委會副主任楊九生因嚴重違紀被開除黨籍。
2016-06-16 20:44:00
6月14日至15日上午,貴州出現了今年以來范圍最廣的一次強降雨天氣過程,24小時最大降雨為羅甸縣邊陽鎮的268.4毫米,1小時最大降雨量為惠水縣甲烈鄉的103毫米,均超過歷史極值。預計今(16)明兩天,貴州大部以晴天為主,氣溫回升。
2016-06-16 16:36:00
6月15日下午, 貴州全省防汛抗災工作會議在貴陽召開。省委副書記、省長孫志剛出席會議并講話。
2016-06-16 15:47:00
參與討論
我想說
央廣網官方微信
手機央廣網
